Centro de noticias
Hogar » Noticias » Noticias industriales » ISO 1133-1: 2022 (e)

Soporte y descarga

Contáctenos

Tel: +86-551-66106027
Fax: +86-551-65868499
Correo electrónico: sales@anytester.com
Dirección: No. 8, Cuiwei Road, Ciudad de Hefei, provincia de Anhui, PRC

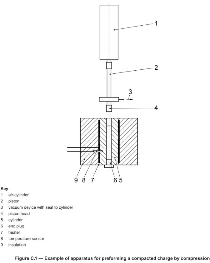
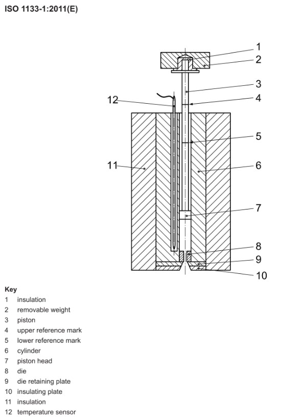
ISO 1133-1: 2022 (e)

1

2

3

4

5

6

7

8

9

10

11

12

13

14

15

16

17

18

19

20

21

22

23

24

25

26

27

28

29

30

31

32

33

34

35

36

37

38

39

Catálogos de productos

Probador de textiles y prendas
Tester de hardware de puertas y ventanas

NAVEGACIÓN

Hogar

Contáctenos

Tel : +86 188 55105986
Fax : +86-551-69012300
Correo electrónico : marketing@anytester.com
Dirección: No. 8, Cuiwei Road, Ciudad de Hefei, Provincia de Anhui, PRC

SÍGANOS

Chat en línea

Copyright 2017 Anytester (Hefei) Co., Ltd. Todos los derechos reservados. Mapa del sitio | Xml