Alcance
1. Estos métodos de prueba cubren el entorno de la densidad aparente, el factor a granel y, cuando corresponde, la potencia de los materiales plásticos, como los polvos de moldeo. Se dan diferentes acciones para la aplicación a las diversas formas de estos materiales que comúnmente se encuentran, forman polvos y gránulos finos a copos grandes y fibras cortadas.
2. Los valores establecidos en las unidades SI deben considerarse como el estándar. Los valores entre paréntesis son solo para información.
Nota 1-El método de prueba A es equivalente al método ISO R 60 como se describe en el Apéndice. El método de prueba C es idéntico al método ISO R 61.
Método de prueba de densidad aparente a
1. Alcance
1. El método de prueba A cubre la medición de la densidad aparente de los gránulos y polvos finos que se pueden vertiendo fácilmente a través de un pequeño embudo.
2. Aparato
2.1 Copa de medición a una copa cilíndrica de 100 ± 0.5 cm de capacidad, con un diámetro igual a la mitad de la altura, por ejemplo, 39.9 mm (1.572 pulgadas) de diámetro interior por 79.8 mm (3.144 pulgadas) dentro de la altura, como se muestra en la Fig.1
2.2 embudo, que tiene una abertura de 9.5 mm de diámetro en el botton, y montada a una altura a 38 mm por encima de la taza de medición, como se muestra en la Fig.1.
3. Procedimiento
3.1 Con el aparato ensamblado como se muestra en la Fig.1, cierre el pequeño extremo OG el embudo con la mano o con una franja plana adecuada y vierta una muestra de 115 ± 5 cm³ en el embudo. Abra el bottton del embudo rápidamente y permita que el material fluya libremente a la taza. Si se produce un caking en el embudo, el material puede aflojarse con una pequeña barra de vidrio.
3.2 Después de que todo el material haya superado el embudo, raspe inmediatamente el exceso en la parte superior de la taza con una toma de ratina sin sacudir la taza. Pese el material en la copa al 0.1g más cercano. Calcule el peso en gramos de 1 cm³ del material.
3.3 Material muy fino que se unirá y no fluirá a través del embudo se puede verter ligeramente de un papel que se mantiene sobre 38 mm (1.5 pulgadas) por encima de la abertura de la copa de medición.
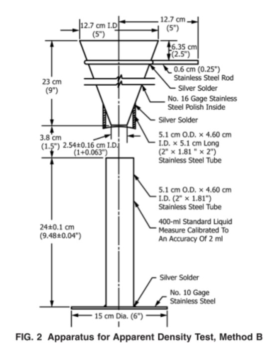
Método de prueba B
1 alcance
1.1 El método de prueba B cubre la medición de la densidad aparente de los materiales granulares gruesos, incluidos los dados y los gránulos, que no se pueden verter o que se vierten con dificultad a través del embudo descrito en el método de prueba A.
2. Aparato
2.1 Copa de medición-A Copa cilíndrica de capacidad de 400 cm³, como se muestra en la Fig.2.
2.2 embudo, que tiene una abertura de dismiración de 25.4 mm (1 pulgada) en el botton, y montada a una altura de 38 mm (1.5 pulgadas) por encima de la copa de medición, como se muestra en la Fig.2.
3. Procedimiento
3.1 Con el aparato ensamblado como se muestra en la Fig.2, cierre el extremo pequeño del embudo con la mano o con una franja plana adecuada y vierta una muestra de 500 ± 20 cm³ en el embudo. Abra el bottton del embudo rápidamente y permita que el material fluya libremente a la taza.
3.2 Después de que el material ha pasado a través del embudo, raspe inmediatamente el exceso en la parte superior de la taza con una regla sin sacudir la taza. Pese el material en la copa al 0.1g más cercano. Luego calcule el peso en gramos de 1 cm³ del material. Haga tres determinaciones de la densidad aparente en cada muestra y promedia los resultados (nota 2).
Método de prueba C
1. Alcance
1.1 Método de prueba C (ver Nota 1) cubre la medición de la densidad aparente de materiales suministrados en forma de copos gruesos, papas fritas, fibra cortada o hilos. Tal material no se puede verter a través del embudo describerd en el método de prueba A y B. Además, dado que normalmente son muy voluminosos cuando se vierten libremente y, dado que generalmente son cimpresibles a un volumen menor, incluso a mano, una medida de su densidad bajo una pequeña carga es apropiada.
2. Aparato.
2.1 Medición del cilindro-A cilindro de capacidad de 1000 cm3, como se muestra en la Fig.3.
2.2 Wight Flogger-A Cilinder cerrado en un extremo y con un diámetro exterior ligeramente más pequeño que el diámetro interior del cilindro de medición, como se muestra en la Fig3.3, el émbolo debe acelerar una escala cortada en la superficie exterior, graduada en intervalos de 1 mm.
3. Procedimiento
3.1 Coloque el cilindro de medición en una hoja de papel que caiga libremente 60 ± 0.2 g del material para ser probado en el cilindro de medición de un heoght aproximadamente el del cilindro, sin tener cuidado de perder nada del material y dejarlo tan uniformemente tan uniformemente tan uniforme. practicable. Antes de aplicar el Weifght, nivele el material en la medición en centímetros e identifique esta medición como H1.
3.2 Llene el émbolo de peso con el cable disparado para obtener un peso toal de 2300 ± 20 g (5.07 ± 0.04 lb), incluido el émbolo, disminuya este peso gradualmente en el cilindro de medición hasta que el material lo respalde en sugerencia. Permita que el peso se asiente durante 1 minuto y tome la lectura de la escala al 0.1cm más cercano. Esta lectura dará directamente en centímetros la altura del material.
Con respecto a este estándar ASTM D1895, nos gustaría recomendarle nuestro probador de densidad aparente de la serie AT303 ASTM. Para Mode Detsil, si tiene algún interés, contáctenos sin dudarlo.

1 funnel
Anillo de soporte de 2 funnel
3 fijadores de fijación
4 caña de soporte
Franja plana de 5 metales
6-base
7 taza de medición