Procesos de equipos de teñido comunes y nuevas técnicas de teñido - Parte 3
Sección 1 Equipo de teñido común - Parte 3
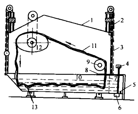
Máquina de teñido de cuerda del cabrestante


1. Cubierta de ranura 2. Polea 3. Puerta de la ventana 4, 5, 6- Válvula de drenaje 7- Placa porosa
8- Grid de distribución 9- Guía pasiva Roller 10- Solución de teñido 11- tela
12- Placa de guía elíptica 13- Tanque de teñido
Características de procesamiento: el equipo tiene una estructura simple, bajo precio, operación conveniente, pocas fallas mecánicas y es fácil de mantener. Sin embargo, ingresar y salir de la máquina de teñido para telas requiere una operación manual, lo que resulta en alta intensidad de mano de obra y baja producción. Su relación mínima de baño de teñido es 1:20 se usa principalmente para teñir telas de punto.
Máquina de teñido de desbordamiento


1. Fabric 2. Roller de guía activo 3. Puerto de desbordamiento 4. Groove de desbordamiento
Tubo de distribución de 5-superflujo Bomba de 6 circulación de 7 malditos intercambiador de 8 años Tanque de inmersión
Características de procesamiento: el equipo tiene un alto grado de automatización, es fácil de operar, y la tela está en un estado relajado durante el teñido, con menos tensión, teñido uniforme y una sensación de mano suave. Se puede teñir a temperatura y presión ambiente, y también se puede usar para un teñido de alta temperatura y alta presión. Es principalmente adecuado para teñir telas de punto de fibra sintética, telas elásticas y productos de fibra de celulosa delgada, suelta y elástica.
Máquina de teñir jet

1. Fabric 2. Boquillas 3. Zona de inmersión 4. Bomba de circulación
Intercambiador de 5 maldito Boquilla de 6 backwall 7 lotes de tambor 8 de alimentación
La diferencia entre la máquina de teñido de chorro y la máquina de teñido de desbordamiento
La principal diferencia es que el aumento de la tela en la máquina de teñido de desbordamiento es impulsado por el rodillo de guía activo, mientras que el aumento de la tela en la máquina de teñido de chorro es impulsado por el tinte de chorro, por lo que la tensión en la tela es más pequeña, La tensión en cada parte es más uniforme, y la sensación de teñido es más suave. Pero los requisitos de operación de este dispositivo son altos, y deben seleccionarse las boquillas adecuadas de acuerdo con las diferentes especificaciones de las telas. Si no se domina correctamente, es fácil causar bloqueo de tela.
Máquina de teñido de desbordamiento de chorro


1. Fabric 2. Guía de rodillo 3. Puerto de desbordamiento 4. Boquillas 5. Tubería de transmisión de tela
Bomba de 7 circulaciones de 6-impregnación de la tubería de 8 hojas de 8 hojas
Características: La máquina de teñido tiene un dispositivo de desbordamiento y un dispositivo de pulverización. En comparación con las máquinas de tintura de desbordamiento, las telas están sujetas a menos tensión, tienen una relación de baño de tintura más pequeña, tienen una velocidad de circulación más rápida entre la solución de tinte y la tela, y tienen una mejor nivel. En comparación con la máquina de teñido de chorro, la operación es relativamente simple, pero es fácil producir mucha espuma.
La máquina de teñido de cabrestante de laboratorio AT275 de Anytester está diseñada para el uso del laboratorio de teñido, hirviendo, blanqueador y lavado, etc. Procesamiento para todo tipo de telas de cegamiento de hasta 100 ℃, y para la aplicación de teñido y procesamiento para rayón, poliacrillo- fibra de nitrilo y tela mezclada bajo temperatura normal y presión normal. Haga clic aquí para obtener más información.
Para más máquinas de teñido, contáctenos.